京东方A获得发明专利授权:“指静脉传感器及电子设备”
2025年05月24日 | 浏览量:68223

图片来源于网络,如有侵权,请联系删除
证券之星消息,根据天眼查APP数据显示京东方A(000725)新获得一项发明专利授权,专利名为“指静脉传感器及电子设备”,专利申请号为CN202210405943.7,授权日为2025年5月23日。
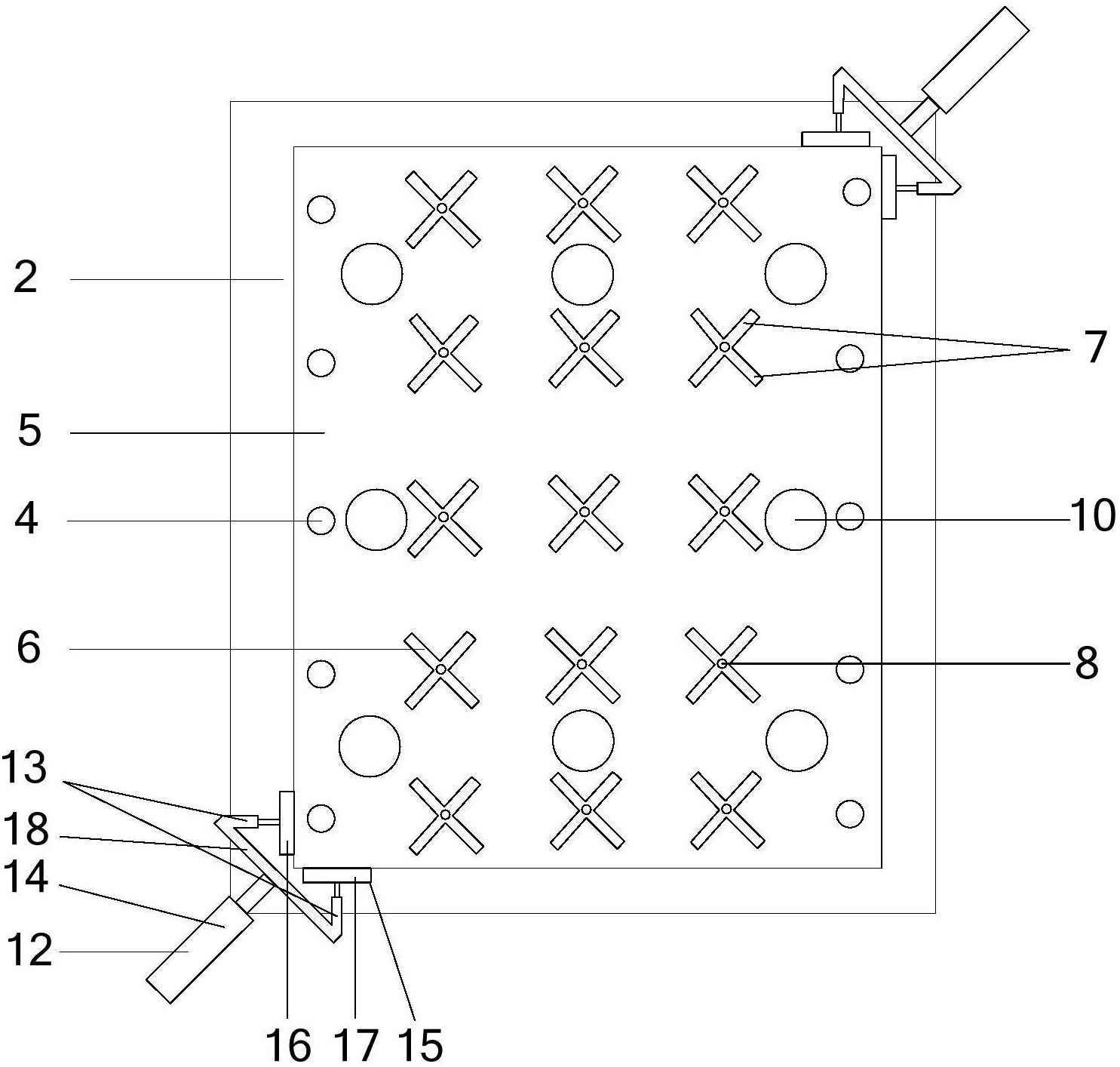
专利摘要:本申请公开了一种指静脉传感器及电子设备,属于传感技术领域。指静脉传感器,包括:衬底、红外光源和红外探测器。由于红外光源中的第一发光元件与传感区之间的距离,小于红外光源中的第二发光元件与传感区之间的距离。因此,第一发光元件发出的近红外光线,会经过较短的距离射向传感区内的待检测物体。当待检测物体为用户的手指时,用户手指中的指关节与第一发光元件之间的距离较小,第一发光元件发射的近红外光线经过较短的距离就能够射向指关节,使得关节处的静脉分布图像的效果较好。并且该指静脉传感器的厚度较小,有利于将该指静脉传感器与其他组件集成在一个电子设备中,使得集成了该指静脉传感器的电子设备体积较小。
今年以来京东方A新获得专利授权1645个,较去年同期增加了3.59%。结合公司2024年年报财务数据,2024年公司在研发方面投入了131.23亿元,同比增15.94%。
数据来源:天眼查APP
以上内容为证券之星据公开信息整理,由AI算法生成(网信算备310104345710301240019号),不构成投资建议。
本文来源:资讯纵横网
本文地址:https://www.mgisk.com/post/27380.html
关注我们:微信搜索“xiaoqihvlove”添加我为好友
版权声明:如无特别注明,转载请注明本文地址!

