ST航高获得实用新型专利授权:“一种熔盐塔式太阳能热发电站吸热器断电保护系统”
2025年06月06日 | 浏览量:55141

图片来源于网络,如有侵权,请联系删除
证券之星消息,根据天眼查APP数据显示ST航高(002665)新获得一项实用新型专利授权,专利名为“一种熔盐塔式太阳能热发电站吸热器断电保护系统”,专利申请号为CN202420852334.0,授权日为2025年6月6日。
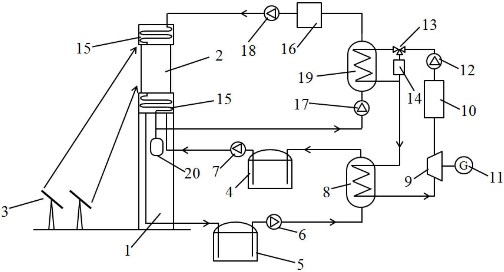
专利摘要:本实用新型提供了一种熔盐塔式太阳能热发电站吸热器断电保护系统,包括熔盐控制模块、定日镜场控制模块、定日镜场模块和吸热模块,所述熔盐控制模块与吸热模块连接,定日镜场控制模块通过定日镜场模块连接吸热模块;所述熔盐控制模块包括逆止阀和熔盐泵,所述逆止阀设置在熔盐泵与吸热模块之间;所述定日镜场控制模块包括UPS电源和控制器,UPS电源通过控制器连接定日镜场模块,所述控制器还与逆止阀连接,本实用新型采用熔盐逆止阀防止熔盐倒流,同时采用镜场UPS电源迅速散焦,达到自动撤镜保护吸热器的目的,省去了入口容器和高压压缩空气系统,使吸热器响应特性得到增强,同时减少了吸热塔上的结构和设备,节约了成本。

图片来源于网络,如有侵权,请联系删除
今年以来ST航高新获得专利授权4个,较去年同期减少了33.33%。结合公司2024年中报财务数据,2024上半年公司在研发方面投入了999.3万元,同比减58.14%。
数据来源:天眼查APP
以上内容为证券之星据公开信息整理,由AI算法生成(网信算备310104345710301240019号),不构成投资建议。
本文来源:资讯纵横网
本文地址:https://www.mgisk.com/post/28358.html
关注我们:微信搜索“xiaoqihvlove”添加我为好友
版权声明:如无特别注明,转载请注明本文地址!

