晶合集成获得发明专利授权:“半导体结构及其制备方法”
2025年06月28日 | 浏览量:77753

图片来源于网络,如有侵权,请联系删除
证券之星消息,根据天眼查APP数据显示晶合集成(688249)新获得一项发明专利授权,专利名为“半导体结构及其制备方法”,专利申请号为CN202510170528.1,授权日为2025年6月27日。
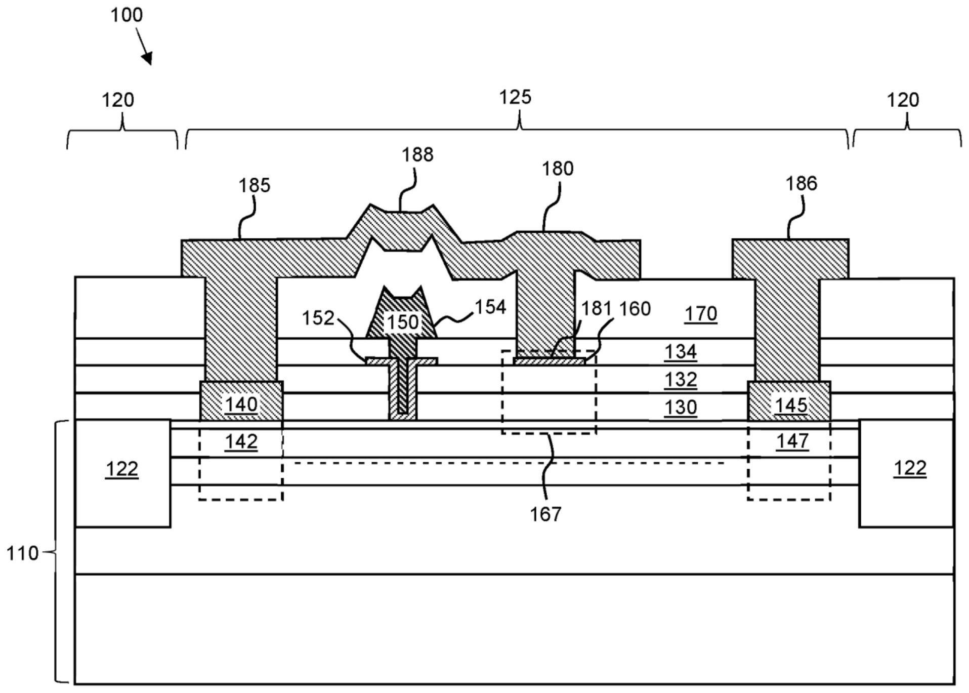
专利摘要:本申请涉及一种半导体结构及其制备方法,包括:衬底;第一掺杂类型的漂移区,位于衬底内;场介质层结构,包括第二介质层以及第一介质层;第二介质层位于漂移区远离衬底的一侧表面;第一介质层包括多个第一介质部,多个第一介质部沿第一方向插置于第二介质层内;其中,第一方向垂直于衬底指向场介质层结构的方向;多个第二掺杂类型的顶区,沿第一方向间隔设置在漂移区内,顶区与第一介质部对应设置;第一掺杂类型与第二掺杂类型相反。第一介质部插置在第二介质层内,可降低第二介质层尖角处的电场强度,降低表面电场。顶区和漂移区构成了多重RESURF结构,可以改善器件表面电场分布,促进漂移区内载流子的注入,降低了导通电阻。

图片来源于网络,如有侵权,请联系删除
今年以来晶合集成新获得专利授权189个,较去年同期增加了11.83%。结合公司2024年年报财务数据,2024年公司在研发方面投入了12.84亿元,同比增21.41%。
通过天眼查大数据分析,合肥晶合集成电路股份有限公司共对外投资了7家企业,参与招投标项目626次;财产线索方面有商标信息52条,专利信息1157条,著作权信息7条;此外企业还拥有行政许可17个。
数据来源:天眼查APP
以上内容为证券之星据公开信息整理,由AI算法生成(网信算备310104345710301240019号),不构成投资建议。
本文来源:资讯纵横网
本文地址:https://www.mgisk.com/post/29984.html
关注我们:微信搜索“xiaoqihvlove”添加我为好友
版权声明:如无特别注明,转载请注明本文地址!

