神开股份获得实用新型专利授权:“一种用于减压蒸馏防止暴沸的烧瓶装置”
2025年07月01日 | 浏览量:62004

图片来源于网络,如有侵权,请联系删除
证券之星消息,根据天眼查APP数据显示神开股份(002278)新获得一项实用新型专利授权,专利名为“一种用于减压蒸馏防止暴沸的烧瓶装置”,专利申请号为CN202422085119.5,授权日为2025年7月1日。
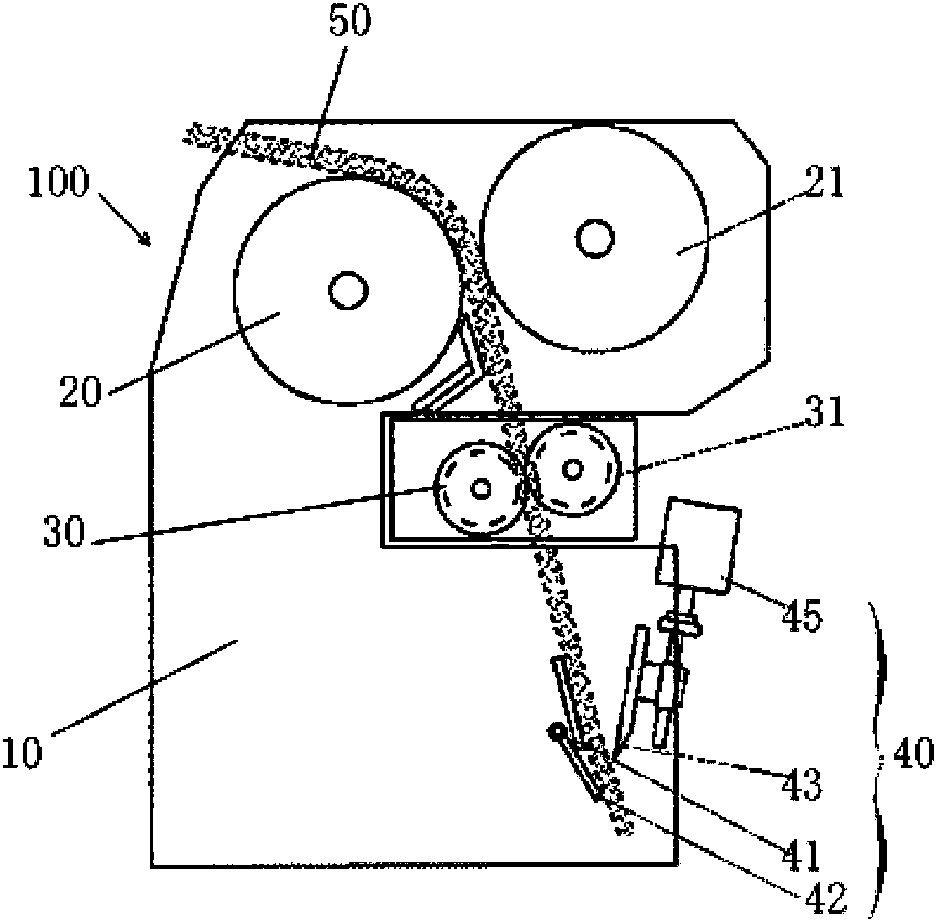
专利摘要:本实用新型公开了.一种用于减压蒸馏防止暴沸的烧瓶装置,其特征在于,包括:一烧瓶本体,所述烧瓶本体包括一瓶体结构和设置在所述瓶体结构上端的导管;所述导管为带有至少一弧形通道的导管结构;在所述弧形通道上方的导管旁侧连通有一支管;在所述瓶体结构的瓶壁上开设有防暴沸口,在所述防暴沸口设置有瓶塞;一导气管穿过所述瓶塞从防暴沸口伸入所述瓶体结构。相较于以往采用沸石的方式,此方法有效地攻克了油品突爆的问题,提高了试验的成功率,也提升了操作人员的工作效率。

图片来源于网络,如有侵权,请联系删除
今年以来神开股份新获得专利授权2个,较去年同期减少了80%。结合公司2024年年报财务数据,2024年公司在研发方面投入了7236.11万元,同比减4.54%。
通过天眼查大数据分析,上海神开石油化工装备股份有限公司共对外投资了7家企业,参与招投标项目3次;财产线索方面有商标信息42条,专利信息635条,著作权信息114条;此外企业还拥有行政许可20个。
数据来源:天眼查APP
以上内容为证券之星据公开信息整理,由AI算法生成(网信算备310104345710301240019号),不构成投资建议。
本文来源:资讯纵横网
本文地址:https://www.mgisk.com/post/30180.html
关注我们:微信搜索“xiaoqihvlove”添加我为好友
版权声明:如无特别注明,转载请注明本文地址!
- •中国石化获得发明专利授权:“催化反应单元及反应蒸馏塔”
- •万事利获得外观设计专利授权:“丝巾(百福结-丝羊毛)”
- •【ESG动态】赫美集团(002356.SZ)获华证指数ESG最新评级CC,行业排名第96
- •华鑫股份(600621)2025年三季报简析:营收净利润同比双双增长
- •海南发展:截至9月20日股东总户数74,632户
- •中旗新材获得发明专利授权:“一种石英石板材的布料装置”
- •秋田微(300939)2025年年报简析:增收不增利,公司应收账款体量较大
- •三达膜:公司的膜产品有应用在稀土开采领域
- •太辰光:800G光模块已经有供货
- •兴福电子获得发明专利授权:“一系列杂环芳烃光引发剂及其光引发剂应用”

