四方达获得实用新型专利授权:“一种柱齿镶嵌用夹具”
2025年07月08日 | 浏览量:56525

图片来源于网络,如有侵权,请联系删除
证券之星消息,根据天眼查APP数据显示四方达(300179)新获得一项实用新型专利授权,专利名为“一种柱齿镶嵌用夹具”,专利申请号为CN202421737491.3,授权日为2025年7月8日。
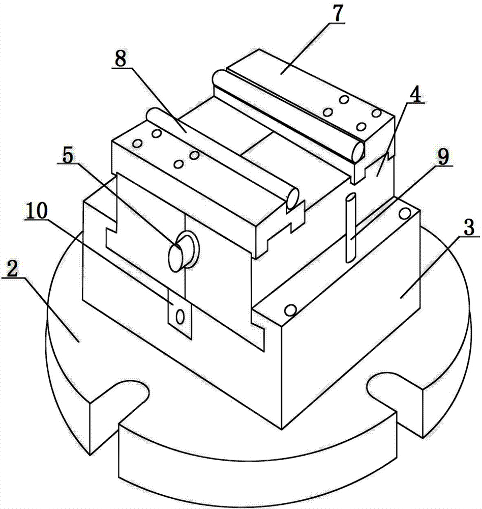
专利摘要:本实用新型属于装配夹具领域,特别是涉及一种柱齿镶嵌用夹具。为了解决现有技术中由于仅依靠工作人员肉眼判断柱齿与齿孔的同轴度,所以导致在工作人员利用锤子将柱齿敲入齿孔中时,齿孔的顶部出现喇叭状豁口,从而导致在钻头进行冲击旋转时会出现柱齿脱落、齿孔壁被破坏等现象,严重影响钻头的使用寿命的技术问题,本实用新型提出了一种柱齿镶嵌用夹具。柱齿镶嵌用夹具包括基座,基座上具有用于与柱齿间隙配合的定位孔,且基座上固定安装有用于测量定位孔的轴线倾斜角度的水平仪。由于定位孔与柱齿间隙配合,所以利用水平仪测量定位孔的轴线倾斜角度即可得到柱齿的轴线倾斜角度,从而能够保证柱齿与齿孔的同轴度,提升钻头的使用寿命。
今年以来四方达新获得专利授权12个,较去年同期减少了71.43%。结合公司2024年年报财务数据,2024年公司在研发方面投入了6247.92万元,同比减0.76%。
通过天眼查大数据分析,河南四方达超硬材料股份有限公司共对外投资了10家企业,参与招投标项目85次;财产线索方面有商标信息57条,专利信息397条,著作权信息1条;此外企业还拥有行政许可18个。
数据来源:天眼查APP
以上内容为证券之星据公开信息整理,由AI算法生成(网信算备310104345710301240019号),不构成投资建议。
本文来源:资讯纵横网
本文地址:https://www.mgisk.com/post/30700.html
关注我们:微信搜索“xiaoqihvlove”添加我为好友
版权声明:如无特别注明,转载请注明本文地址!

