亚厦股份获得发明专利授权:“一种厨房墙面结构及其安装方法”
2025年07月09日 | 浏览量:65481

图片来源于网络,如有侵权,请联系删除
证券之星消息,根据天眼查APP数据显示亚厦股份(002375)新获得一项发明专利授权,专利名为“一种厨房墙面结构及其安装方法”,专利申请号为CN202310902996.4,授权日为2025年7月8日。
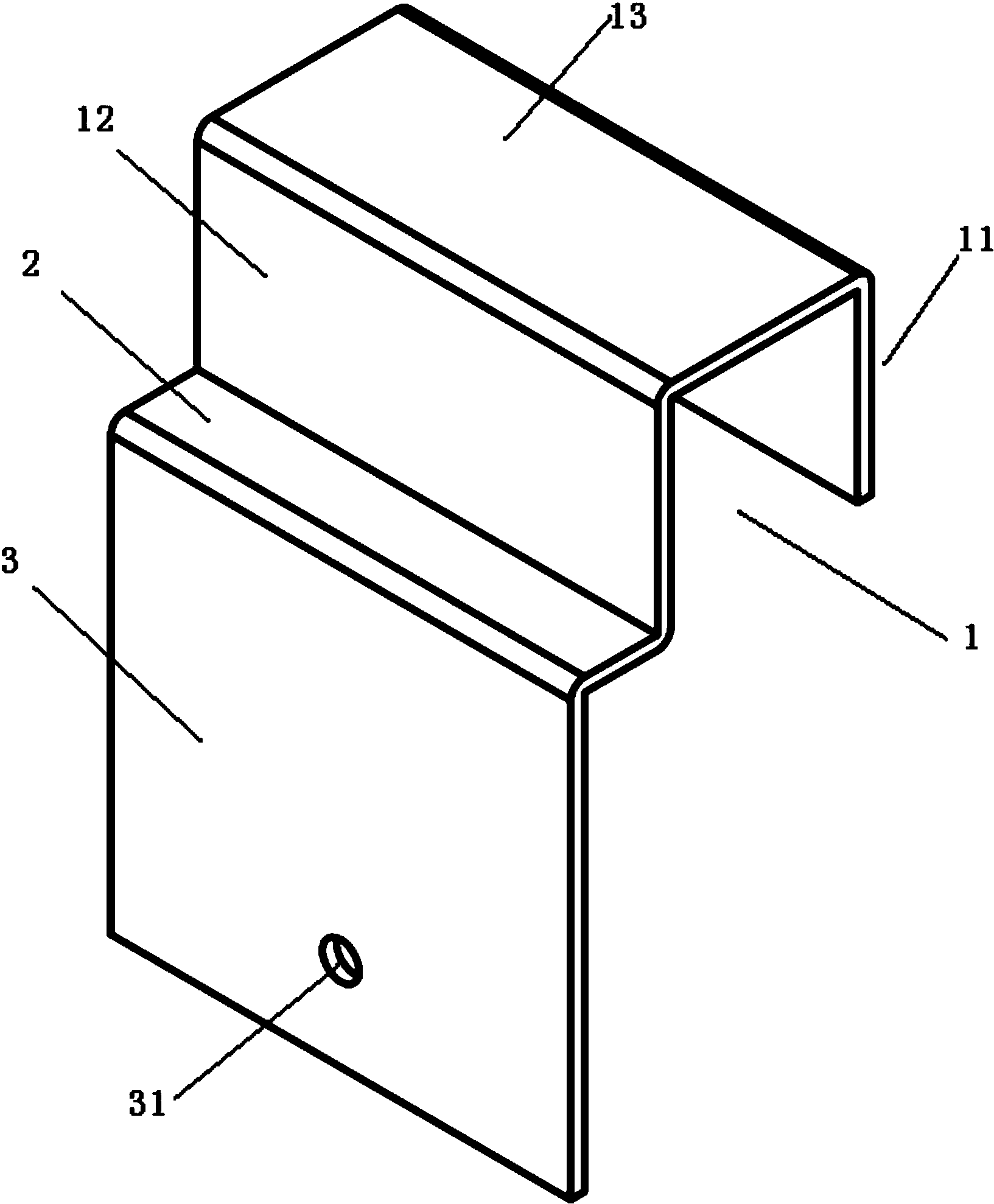
专利摘要:一种厨房墙面结构及其安装方法,包括瓷砖干挂结构和布设在瓷砖干挂结构上下两端的边龙骨、扣式踢脚线,包括墙面调平组件、瓷砖挂装件、瓷砖和消音板组件,墙面调平组件通过螺钉固定在原始墙面上,瓷砖挂装件上设有挂接槽,挂接槽挂接在墙面调平组件上,瓷砖固定在瓷砖挂装件上,在瓷砖挂装件、墙面调平组件之间形成消音槽,消音板组件安装在消音槽内,便于在瓷砖、墙面调平组件之间安装消音板组件;边龙骨、扣式踢脚线分别与调平组件连接,扣式踢脚线抵设在瓷砖、消音板组件的下端边缘上,通过在装配式墙体的顶部设置边龙骨,便于将铝扣板直接装配在本装配式墙体上,通过在装配式墙体的底部设置扣式踢脚线,便于提高装配式墙体底部的美观性。
今年以来亚厦股份新获得专利授权205个,较去年同期减少了65.95%。结合公司2024年年报财务数据,2024年公司在研发方面投入了3.72亿元,同比减4.37%。
通过天眼查大数据分析,浙江亚厦装饰股份有限公司共对外投资了34家企业,参与招投标项目4447次;财产线索方面有商标信息142条,专利信息7478条,著作权信息44条;此外企业还拥有行政许可53个。
数据来源:天眼查APP
以上内容为证券之星据公开信息整理,由AI算法生成(网信算备310104345710301240019号),不构成投资建议。
本文来源:资讯纵横网
本文地址:https://www.mgisk.com/post/30788.html
关注我们:微信搜索“xiaoqihvlove”添加我为好友
版权声明:如无特别注明,转载请注明本文地址!

