名雕股份获得实用新型专利授权:“一种家用病虫害防治装置”
2025年08月22日 | 浏览量:64170

图片来源于网络,如有侵权,请联系删除
证券之星消息,根据天眼查APP数据显示名雕股份(002830)新获得一项实用新型专利授权,专利名为“一种家用病虫害防治装置”,专利申请号为CN202422098478.4,授权日为2025年8月22日。
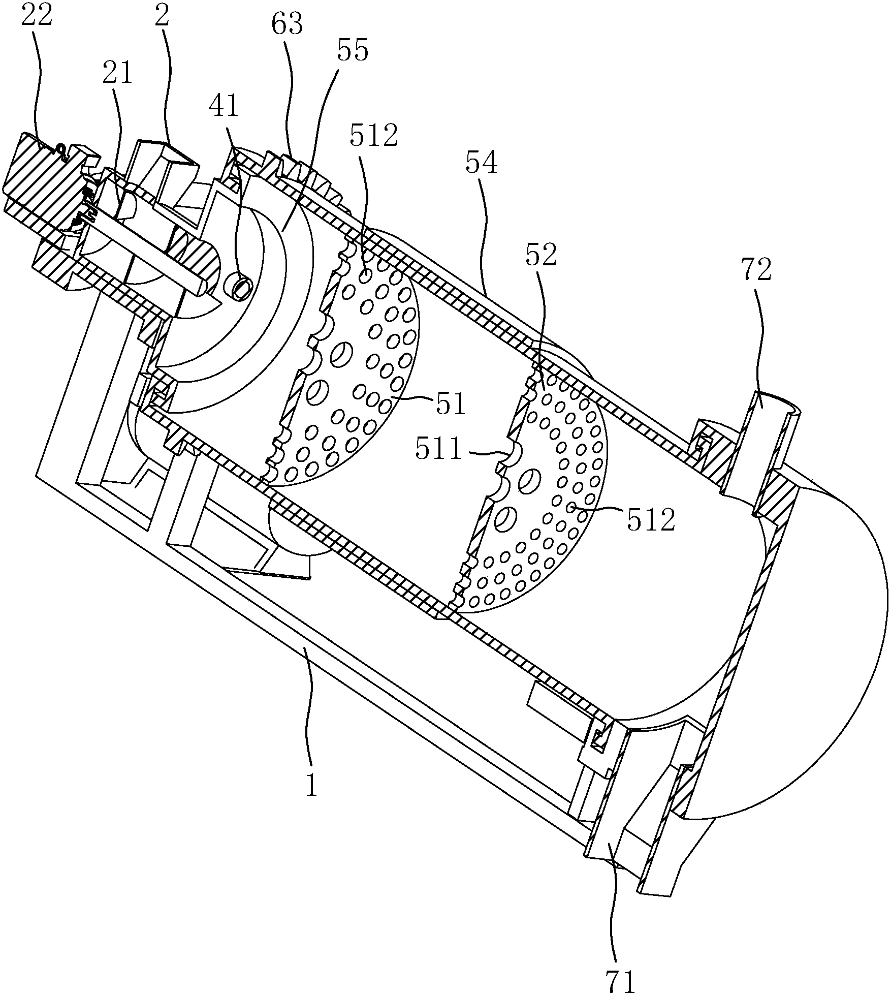
专利摘要:本实用新型公开了一种家用病虫害防治装置,包括:至少一拍摄组件,架设于花盆上方,用于拍摄花盆中花卉/蔬菜的图像;多个喷洒组件,每一所述喷洒组件包括用于盛装农药的储液罐和与所述储液罐连通的喷头,每一所述喷头靠近至少一花盆,所述喷头处设置有电磁阀;控制器,与所述拍摄组件和所述喷洒组件连接,以根据所述拍摄组件拍摄的图像识别花卉/蔬菜上的病虫,并根据识别结果控制多个所述电磁阀工作,以喷洒不同的农药。本实用新型中多个喷洒组件的储液罐中可盛装不同的农药,控制器根据拍摄组件拍摄的图像识别花卉或蔬菜上是否有病虫以及病虫种类,并可根据病虫种类控制电磁阀工作,以针对不同病虫种类喷洒不同的农药,以针对性杀虫。

图片来源于网络,如有侵权,请联系删除
今年以来名雕股份新获得专利授权6个,较去年同期增加了100%。结合公司2024年年报财务数据,2024年公司在研发方面投入了458.55万元,同比减39.13%。
通过天眼查大数据分析,深圳市名雕装饰股份有限公司共对外投资了17家企业,参与招投标项目5次;财产线索方面有商标信息458条,专利信息179条,著作权信息77条;此外企业还拥有行政许可11个。
数据来源:天眼查APP
以上内容为证券之星据公开信息整理,由AI算法生成(网信算备310104345710301240019号),不构成投资建议。
本文来源:资讯纵横网
本文地址:https://www.mgisk.com/post/34136.html
关注我们:微信搜索“xiaoqihvlove”添加我为好友
版权声明:如无特别注明,转载请注明本文地址!

