亿纬锂能获得实用新型专利授权:“盖板组件以及电池箱”
2025年10月01日 | 浏览量:77007

图片来源于网络,如有侵权,请联系删除
证券之星消息,根据天眼查APP数据显示亿纬锂能(300014)新获得一项实用新型专利授权,专利名为“盖板组件以及电池箱”,专利申请号为CN202422454685.9,授权日为2025年9月30日。
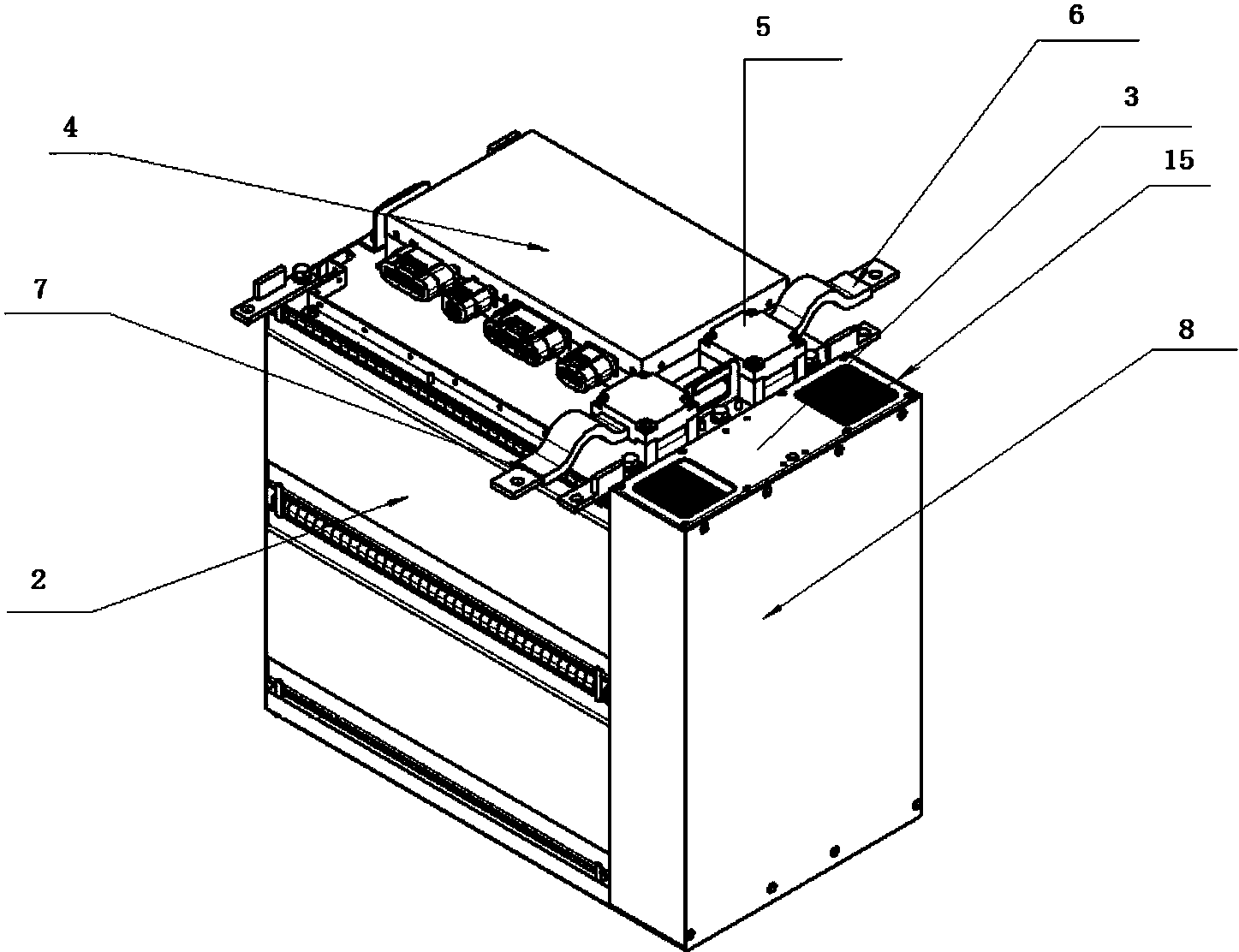
专利摘要:本实用新型属于电池技术领域,公开一种盖板组件以及电池箱,盖板组件包括盖板主体、第一电气部件及第一连接件,盖板主体可拆卸地封盖于电池箱的箱主体的维修口,盖板主体设置有操作口;第一电气部件安装于盖板主体;第一连接件电连接于第一电气部件,至少部分第一连接件通过操作口显露出并与箱主体内的电池模组可拆卸地电连接。当检修或更换第一电气部件时,可先通过操作口断开第一连接件与电池模组之间的连接,再将盖板主体从维修口处拆卸下来,同时第一电气部件随盖板主体一同被拆卸下来,在拆卸盖板主体时能避免拉扯第一连接件,防止第一电气部件、电池模组及第一电气部件与电池模组之间的连接件被拉扯损坏,降低检修难度,提高检修效率。

图片来源于网络,如有侵权,请联系删除
今年以来亿纬锂能新获得专利授权498个,较去年同期减少了1.19%。结合公司2025年中报财务数据,今年上半年公司在研发方面投入了12.61亿元,同比减11.33%。
通过天眼查大数据分析,惠州亿纬锂能股份有限公司共对外投资了47家企业,参与招投标项目213次;财产线索方面有商标信息373条,专利信息3935条,著作权信息85条;此外企业还拥有行政许可379个。
数据来源:天眼查APP
以上内容为证券之星据公开信息整理,由AI算法生成(网信算备310104345710301240019号),不构成投资建议。
本文来源:资讯纵横网
本文地址:https://www.mgisk.com/post/36505.html
关注我们:微信搜索“xiaoqihvlove”添加我为好友
版权声明:如无特别注明,转载请注明本文地址!

