中国石油获得发明专利授权:“调压装置及其保养方法”
2025年11月08日 | 浏览量:62063

图片来源于网络,如有侵权,请联系删除
证券之星消息,根据天眼查APP数据显示中国石油(601857)新获得一项发明专利授权,专利名为“调压装置及其保养方法”,专利申请号为CN202311430022.7,授权日为2025年11月7日。
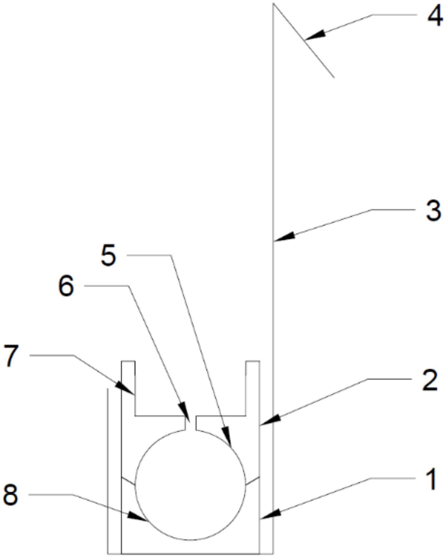
专利摘要:本公开提供了一种调压装置及其保养方法,属于管道阀门领域。该调压装置包括:调压器、导压管过滤器和指挥器;连通调压器的第一管道和第二管道,一端连通调压器,另一端连通导压管过滤器的第三管道,设置在第三管道上的第一阀门;一端连通导压管过滤器,另一端连通指挥器的第四管道;一端连通指挥器,另一端连通第二管道的第五管道,设置在第五管道上的第二阀门;一端连通指挥器,另一端连通调压器的第六管道,设置在第六管道上的第三阀门;一端连通调压器,另一端连通第二管道的第七管道;与第四管道连通的第八管道和设置第八管道上的第四阀门。该调压装置可以有效降低保养时的气体损耗,降低能源浪费。

图片来源于网络,如有侵权,请联系删除
今年以来中国石油新获得专利授权1591个,较去年同期减少了9.86%。结合公司2025年中报财务数据,今年上半年公司在研发方面投入了98.99亿元,同比增2.51%。
通过天眼查大数据分析,中国石油天然气股份有限公司共对外投资了1291家企业,参与招投标项目443次;财产线索方面有商标信息107条,专利信息47196条;此外企业还拥有行政许可168个。
数据来源:天眼查APP
以上内容为证券之星据公开信息整理,由AI算法生成(网信算备310104345710301240019号),不构成投资建议。
本文来源:资讯纵横网
本文地址:https://www.mgisk.com/post/38916.html
关注我们:微信搜索“xiaoqihvlove”添加我为好友
版权声明:如无特别注明,转载请注明本文地址!

