中航光电获得发明专利授权:“一种新型电源搭接结构”
2026年02月14日 | 浏览量:78043

图片来源于网络,如有侵权,请联系删除
证券之星消息,根据天眼查APP数据显示中航光电(002179)新获得一项发明专利授权,专利名为“一种新型电源搭接结构”,专利申请号为CN202110220718.1,授权日为2026年2月13日。
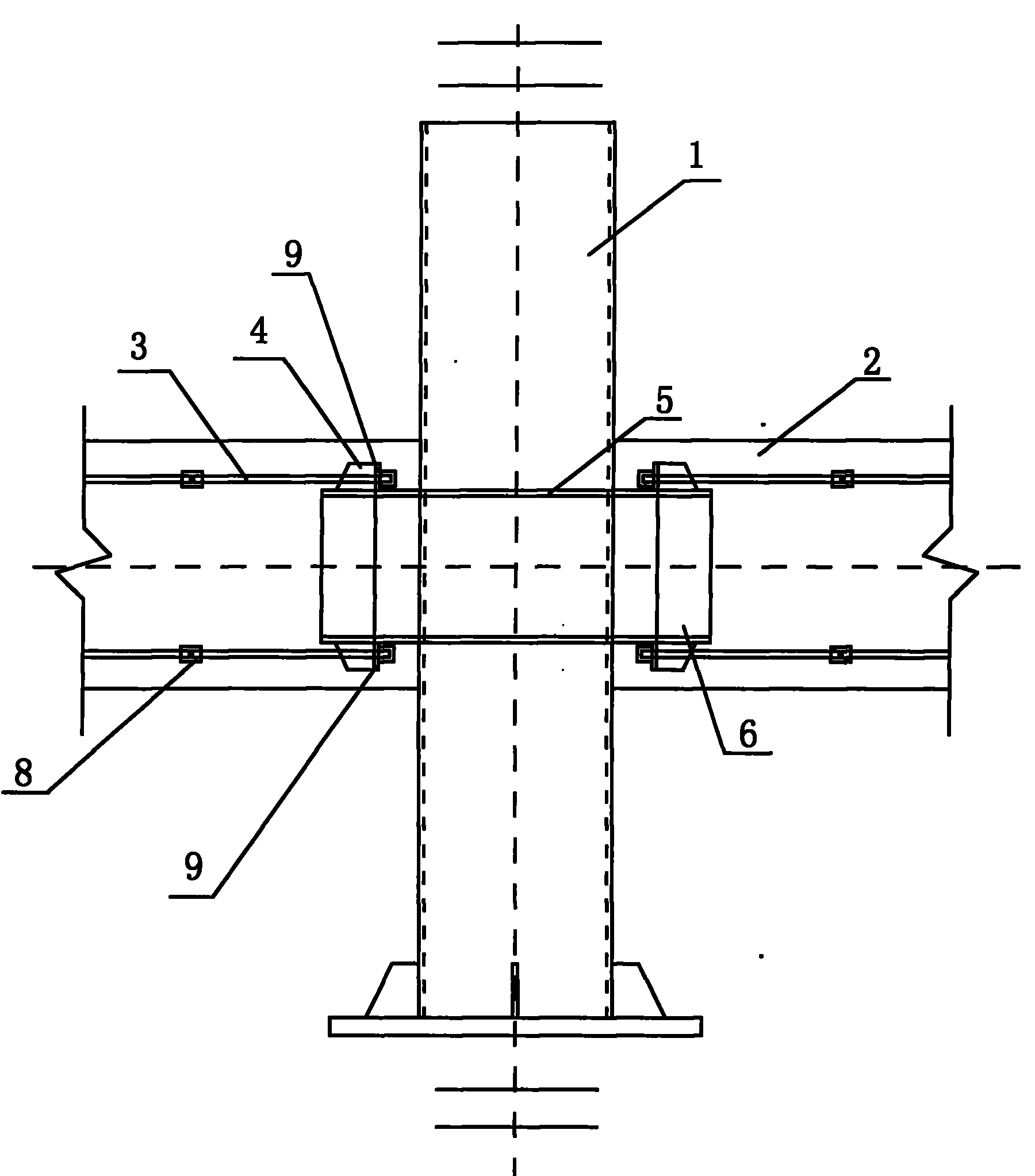
专利摘要:本发明涉及一种新型电源搭接结构,包括一体注射成型的绝缘壳体和搭接接触件,所述绝缘壳体安装在面板上从而实现搭接接触件的定位,所述搭接接触件具有用于搭接外部电源的搭接端以及用于连接内部低压回路的连接端,从而实现外部电源与内部低压回路的接触导通;电源搭接结构还包括密封组件,密封组件包括上盖和密封圈,密封圈安装在绝缘壳体上,上盖罩扣在搭接端后其内壁与密封圈配合实现对搭接端的密封;所述连接端通过连接端密封防护件进行密封防护。借由上述方案,本发明提出一种全新结构形式的电源搭接结构形式,提升了电源搭接结构的整体密封防护性及安全等级,降低了使用过程中的工作风险。
今年以来中航光电新获得专利授权56个,较去年同期增加了107.41%。结合公司2025年中报财务数据,2025上半年公司在研发方面投入了8.83亿元,同比增5.67%。
通过天眼查大数据分析,中航光电科技股份有限公司共对外投资了13家企业,参与招投标项目6375次;财产线索方面有商标信息53条,专利信息4994条,著作权信息25条;此外企业还拥有行政许可594个。
数据来源:天眼查APP
以上内容为证券之星据公开信息整理,由AI算法生成(网信算备310104345710301240019号),不构成投资建议。
本文来源:资讯纵横网
本文地址:https://www.mgisk.com/post/45039.html
关注我们:微信搜索“xiaoqihvlove”添加我为好友
版权声明:如无特别注明,转载请注明本文地址!

