良信股份获得实用新型专利授权:“一种灭弧结构及断路器”
2026年03月14日 | 浏览量:69283

图片来源于网络,如有侵权,请联系删除
证券之星消息,根据天眼查APP数据显示良信股份(002706)新获得一项实用新型专利授权,专利名为“一种灭弧结构及断路器”,专利申请号为CN202520127775.9,授权日为2026年2月27日。
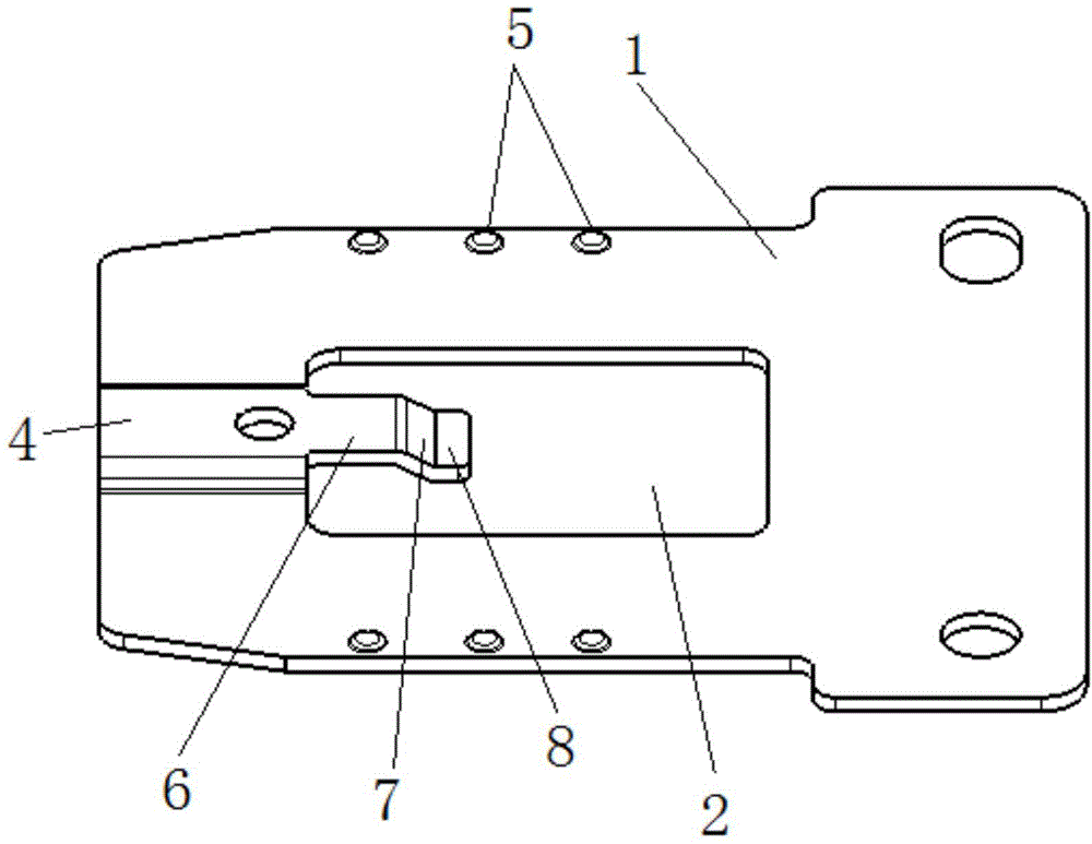
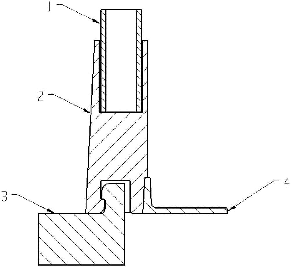
专利摘要:本实用新型提供了一种灭弧结构及断路器,涉及电气设备技术领域。灭弧结构包括壳体以及多个栅片。壳体设置有灭弧部和排气通道;多个栅片均设置于灭弧部,相邻两个栅片形成灭弧通道,灭弧通道与排气通道连通,且多个栅片与排气通道相邻的一端呈阶梯分布,以使得在壳体内狭小的空间尽可能放置较多数量的栅片,以此适应壳体较小的安装空间;通过在多个栅片的端部与壳体的底壁之间设置排气通道,使得电弧及高温气体在进入灭弧通道后沿灭弧通道流动,并及时排入至与灭弧通道连通的排气通道,最终使得电弧及高温气体从排气通道排出;而多个栅片靠近动触头的一端呈高低错落分布,进一步适应壳体内的狭小安装空间,以此提高灭弧结构的适应性。

图片来源于网络,如有侵权,请联系删除
今年以来良信股份新获得专利授权33个,较去年同期减少了28.26%。结合公司2025年中报财务数据,2025上半年公司在研发方面投入了1.5亿元,同比增12.88%。
通过天眼查大数据分析,上海良信电器股份有限公司共对外投资了12家企业,参与招投标项目641次;财产线索方面有商标信息416条,专利信息3047条,著作权信息21条;此外企业还拥有行政许可81个。
数据来源:天眼查APP
以上内容为证券之星据公开信息整理,由AI算法生成(网信算备310104345710301240019号),不构成投资建议。
本文来源:资讯纵横网
本文地址:https://www.mgisk.com/post/46498.html
关注我们:微信搜索“xiaoqihvlove”添加我为好友
版权声明:如无特别注明,转载请注明本文地址!

